多年來,我國IT底層標準、架構、生態等基本都由國外IT巨頭制定,在目前嚴峻的國際形勢下,存在諸多安全風險。在國家公安部信息安全部門的指導下,作為新基建最重要的基石, 2020年信創產業的各類項目開始在全國各地崛起并迅猛擴展,信創產業也隨之出現了一個現象級風口。

網絡安全產品介紹-網閘
網閘(GAP)全稱安全隔離網閘,就是一種用來隔離內網和互聯網的硬件設備,其原理是利用雙硬盤雙系統方式在物理上將一臺計算機分隔成兩個相對獨立的系統(內網系統和外網系統),通過分時啟動電腦內的兩套系統來達到雙網物理隔離的目的。這種硬件設備,從根本上解決了網絡之間由于操作系統本身的安全漏洞或黑客等原因造成的病毒入侵、郵件炸彈、操作系統后門、通用密鑰、密碼被破譯、外部竊取信息、被修改數據、黑客攻擊等一系列的信息安全問題。

吉方工控布局網安產品線
吉方工控從2004年開始,一直致力于工控產品研發、生產、銷售,于2018年開始布局網絡安全硬件產品。利用自己長期積累的供應鏈優勢,不僅成為英特爾的鉑金級合作伙伴,還與國產芯片制造廠商達成戰略共識,緊盯行業發展和前沿技術,于2020年推出了一系列基于飛騰處理器的網絡安全整機和網閘光閘產品。
吉方工控可以為客戶定制各類整機方案,適用于網閘、安全網關、防火墻 、IPS/IDS、UTM、VPN網關等網絡安全解決方案。通過網絡安全防護、上網行為管理、總分VPN互聯、內容審計、應用流量管理,上網帶寬流量管理、防止內網泄密、防范法規風險、互聯網訪問行為記錄等問題,提供一套全面內網安全管理解決方案,為客戶構建穩定、安全、可靠實時通信網絡。廣泛應用于交通,智能電網、智慧城市、智能工廠、教育、園區、新能源等領域。
以下為吉方工控推薦機型:
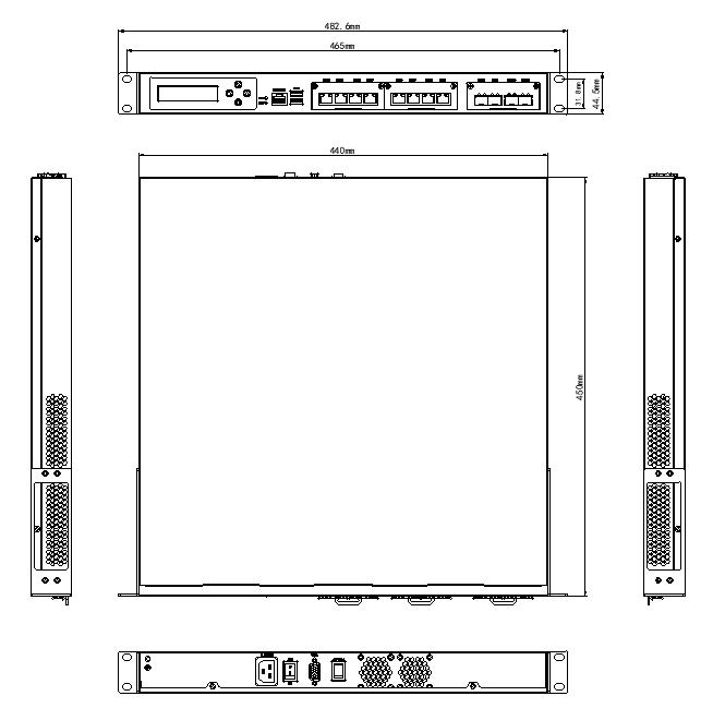
1U-2000-01(1U上架式網絡安全整機)
產品特色
◆采用Phytium ?FT-2000/4處理器
◆內置100W無風扇電源
◆2×DDR4 3200 DIMM內存,最大支持32GB
◆1×mSATA,2×SATA2.0,1×CF,1×Mini-PCIe,4×PCIEX8,1×SIM
◆8×LAN,4×SFP,2×USB2.0,1 ×Console
◆支持看門狗、Bypass、來電開機、無盤引導等功能
◆適用于安全審計、內容過濾、流量控制、IPS/IDS、防火墻、VPN、等網絡安全解決方案
產品規格
Processor System | |
CPU | Phytium ?FT-2000/4 |
Memory | |
Slot Number | 2×DDR4 DIMM |
Type | DDR4 3200 |
Max Size | 32GB |
Channels | Dual channel |
Storage | |
mSATA | 1 |
SATA | 2 |
CF Card | 1 |
Expansion Slot | |
Mini-PCIe | 1 |
PCIEX8 | 4 |
SIM Card | 1 |
Power Requirements | |
Input PWR | 4pin ATX接口 |
Rear IO | |
LAN | 8(intel I350) |
SFP | 4(intel I350) |
USB2.0 | 2 |
Console | 1 |
HDD LED | 1 |
PWR LED | 1 |
Mechanical & Environment | |
Dimension | 440*450*44.5mm(W×D×H) |
Operation | -10~60℃,5%~95% non-condensing |
Storage | -20~70℃,5%~95% non-condensing |
Collocation small card | |
G-NETI350N4 | 2 |
G-NETI350F4 | 1 |
產品結構圖
2U-LP200001飛騰國產網閘光閘

產品特色
◆采用Phytium ?FT-2000/4處理器
◆內置250W帶風扇電源
◆4×DDR4 3200 DIMM內存,最大支持32GB
◆2×mSATA,4×SATA2.0,2×CF,2×Mini-PCIe,8×PCIEX8,2×SIM
◆8×LAN,8×SFP,4×USB2.0,2×Console
◆支持看門狗、Bypass、來電開機、無盤引導等功能
◆適用于安全審計、內容過濾、流量控制、IPS/IDS、防火墻、VPN、等網絡安全解決方案
產品規格
Processor System | |
CPU | 2×Phytium ?FT-2000/4 |
Memory | |
Slot Number | 4×DDR4 DIMM |
Type | DDR4 3200 |
Max Size | 32GB |
Channels | Dual channel |
Storage | |
mSATA | 2 |
SATA | 4 |
CF Card | 2 |
Expansion Slot | |
Mini-PCIe | 2 |
PCIEX8 | 8,可擴展4萬兆/4光/4電 |
SIM Card | 2 |
Power Requirements | |
Input PWR | 2×4pin ATX接口 |
Rear IO | |
LAN | 8(上4下4,intel I350) |
SFP | 8(上4下4,intel I350) |
USB2.0 | 4 |
Console | 2 |
PWR.L | 1 |
HDD.L | 1 |
PWR.W | 1 |
HDD.W | 1 |
SWITCH | 1 |
Mechanical & Environment | |
Dimension | 440*630*85(W×D×H) |
Operation | -10~60℃ 5%~95% non-condensing |
Storage | -20~70℃ 5%~95% non-condensing |
Collocation small card | |
G-NETI350F4 | 2 |
G-NETI350N4 | 2 |
產品結構圖
2020-2022年是國家安全可控體系(信創產業鏈)推廣最重要的3年,中國IT產業從基礎硬件-基礎軟件-行業應用軟件有望迎來國產替代潮。
吉方工控一直以來高度重視技術的研發與創新,公司每年將銷售收入的8%以上投入技術研發,目前擁有30余項發明及實用新型專利技術,公司以“為中國造,定制智能心”為企業使命,將繼續為國家IT振興貢獻自己的一份力量!